IT之家 3 月 5 日音讯,科技媒体 patentlyapple 今天(3 月 5 日)发布博文,凭证好意思国商标和专利局(USPTO)公示的清单,苹果得回了一项 Apple Pencil 手写笔专利。
该专利重心在于检测输入建造时减少阻挡,从而晋升输入精确度,还展示了 Apple Pencil 在可折叠浮现屏上的诓骗后劲。
凭证专利描摹,新一代 Apple Pencil 将接受噪声扼制时候,减少因噪声导致的输入短处。举例,建造不错识别并修正与用户本色操作不符的异常“点”。
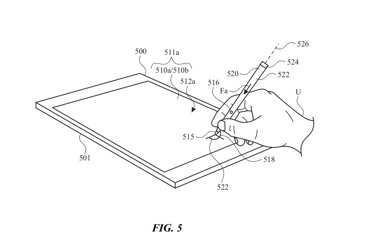
专利图 5 展示了一个示例系统,包括一支触控笔(#520)和一台电子建造。触控笔不错是智能笔、智能刷、手写笔等多种景况,用户通过调养触控笔的位置和标的向建造传递信息。触控屏名义不错是多触点浮现屏,也不错口舌浮现触控名义,以致是可折叠或柔性浮现屏。IT之家附上关联图片如下:





Apple Pencil 不仅适用于传统平板电脑,还可用于折叠手机或平板等可折叠浮现屏建造。用户可通过 Apple Pencil 在触控屏上进行书写、绘制、改换、游戏等多种操作,以致撑抓非浮现触控名义,如触控板或绘制板。
告白声明:文内含有的对外跳转联接(包括不限于超联接、二维码、口令等景况),用于传递更多信息,从简甄选时间,服从仅供参考,IT之家系数著述均包含本声明。
]article_adlist-->
声明:新浪网独家稿件,未经授权辞谢转载。 -->

